◄ Return to page

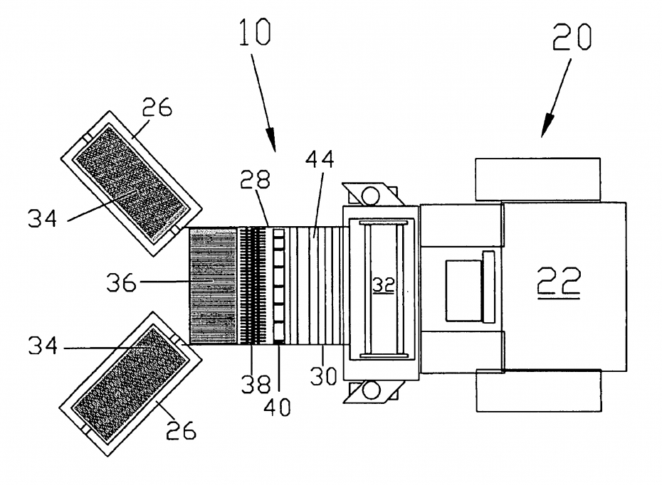
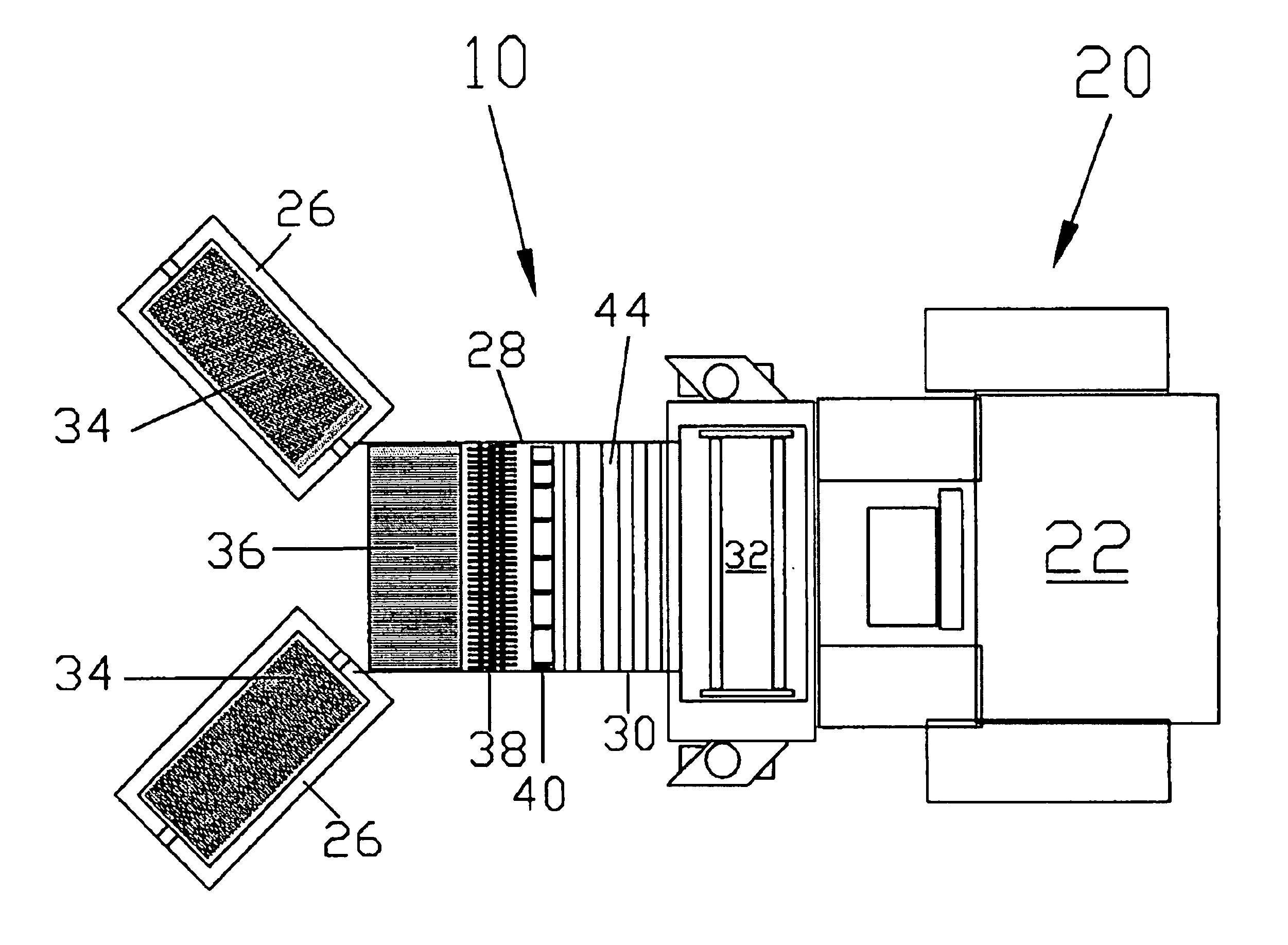
AnCan T10 Prime Mover

Photo 1 / 1

Popular galleries

Mazda RX-7 Mazda RX-7
BMW 745Li BMW 745Li
BMW M5 BMW M5
BMW M5 HAMANN BMW M5 HAMANN
BMW 635CSi BMW 635CSi
BMW 318IS BMW 318IS
BMW Z4 Coupe BMW Z4 Coupe
BMW 635 CSI BMW 635 CSI
BMW 850 BMW 850
Publicité
TopWorldAuto.com
🇺🇸 English 🇫🇷 French
BMW / Chevrolet / Ruse / Décret / Ford / Honda Accord / Mercedes-BENZ
Mitsubishi / Nissan / Peugeot / Renault / Toyota / Volkswagen / Volvo
Mazda RX-7 Mazda RX-7
BMW 745L BMW 745L
BMW D5 BMW D5
BMW M5 PLUS BMW M5 PLUS
BMW 635CSi BMW 635CSi
BMW 318S BMW 318S
BMW Z4 Coupé BMW Z4 Coupé
BMW 635 CSI BMW 635 CSI
BMW 850 BMW 850

<translate id="ae42e4b286228e1ba2bcef8c8cfb9847"></translate> Photo / <translate id="3368ffb83ebe9a7e124972f582ed2ed8"></translate>

<translate id="3368ffb83ebe9a7e124972f582ed2ed8"></translate>
Démarrer le diaporama
AnCan T10 Prime Mover <translate id="3368ffb83ebe9a7e124972f582ed2ed8"></translate>
AnCan T10 Prime Mover <translate id="3368ffb83ebe9a7e124972f582ed2ed8"></translate>
AnCan T10 Prime Mover <translate id="3368ffb83ebe9a7e124972f582ed2ed8"></translate>
AnCan T10 Prime Mover <translate id="3368ffb83ebe9a7e124972f582ed2ed8"></translate>
AnCan T10 Prime Mover <translate id="3368ffb83ebe9a7e124972f582ed2ed8"></translate>
Démarrer le diaporama

Galerie Des Utilisateurs

AnCan T10 Prime Mover Pictures &amp; Wallpapers - Wallpaper #2 of 2 <translate id="b0b6f8c27cdb23c730f49bade17b0ab1"></translate>
AnCan T10 Prime Mover – United States <translate id="5250a5c1e20785d1a7866ce13c77d0ac"></translate>
Sbarro Coupe Stash 1974 <translate id="d4bd22a6e54492f6c7f69e3f17904031"></translate>
Hgglunds BV202. MotoBurg <translate id="ba9e8b28cae5efec15cd11cb2c4fa5be"></translate>
Démarrer le diaporama
 

<translate id="e800263cd47cce1f16f1d0d7a1a431e5"></translate>

Diaporama
À propos de la voiture
Cifications
Tendances Mondiales
Vidéo

Voitures intéressantes

Mazda RX-7 Mazda RX-7
BMW 745Li BMW 745Li
BMW M5 BMW M5
BMW M5 HAMANN BMW M5 HAMANN
BMW 635CSi BMW 635CSi
BMW 318IS BMW 318IS
BMW Z4 Coupe BMW Z4 Coupe
BMW 635 CSI BMW 635 CSI
BMW 850 BMW 850

<translate id="e800263cd47cce1f16f1d0d7a1a431e5"></translate>

Diaporama
À propos de la voiture
Cifications
Tendances Mondiales
Vidéo
 

Voir plus de voitures

  • Alfa Romeo
  • Audi
  • Austin
  • BMW
  • Buick
  • Cadillac
  • Chenille
  • Chevrolet
  • Chrysler
  • Citroën
  • Daihatsu
  • Datsun
  • Ruse
  • Ferrari
  • Décret
  • Ford
  • GAZ
  • GMC
  • Saint-Etienne
  • Honda Accord
  • Hyundai
  • International
  • Isuzu
  • Iveco
  • Jaguar
  • Jeep
  • Kia
  • Lada
  • Rôdeur
  • Lincoln
  • HOMME
  • Mazda
  • Mercedes-BENZ
  • Mercure
  • Mitsubishi
  • Nissan
  • Oldsmobile
  • Renault Megane
  • Peugeot
  • Plymouth
  • Pontiac
  • Porsche
  • Renault
  • Rover
  • SAAB
  • Scanie
  • Škoda
  • Subaru
  • Suzuki
  • Toyota
  • Volkswagen
  • Volvo
TopWorldAuto.com

Bonjour, et bienvenue à topworldauto.com!

Notre site Web couvre de manière obsessionnelle l'industrie automobile avec des nouvelles, des critiques, des photographies de haute qualité et des commentaires sur les automobiles et l'industrie automobile.

Si vous avez trouvé votre chemin vers le site Web, vous voulez en savoir plus sur les voitures. Que vous soyez un visiteur pour la première fois, un utilisateur fréquent du site, nous espérons que vous trouverez ce que vous cherchez. Alors, fouillez et amusez-vous à mieux connaître l'industrie automobile — et nous aimerions vous donner des informations intéressantes à ce sujet!

TopWorldMoto.com | TopWorldAuto.com | Contacter | confidentialité | Conditions Générales | DMCA

© 2003—2026, TopWorldAuto.com Équipe